Yeni nəsil mexaniki ötürmə gəlir – 3 pedal olmayacaq - FOTO

Avtomobil istehsalçıları tədricən mexaniki sürət qutusundan uzaqlaşsalar da, 19-cu əsrin bu ixtirası hələ ki, tarixə qovuşmaq niyyıətində deyil.
Mexanika həvəskarları bu gün də var və zavodlar onların marağını nəzərə alır. Təbii ki, 2022-ci ilin mexaniki ötürməsi 1970-ci ildə layihələndirilmiş “Jiquli” sürət qutusu kimi deyil.
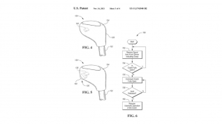
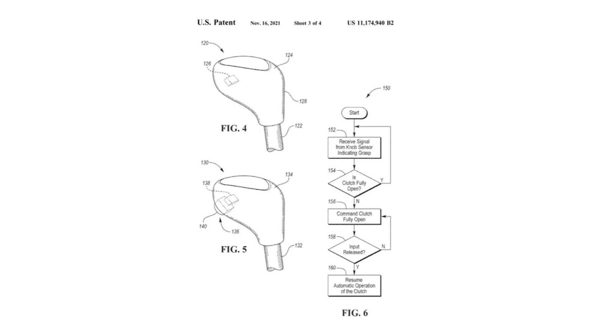
“Ford” şirkətinin layihələndirdiyi yeni model mexaniki sürət qutusunun iş prinsipi klassik mexaniki ötürməilə eynidir. Sadəcə olaraq burada transmissiya pedalı (danışıq dilində - mufta) olmayacaq. Onun funksiyasını xüsusi alqoritm həyata keçirəcək.
Yeni sürət qutusu üçün artıq patent alınıb və çertyojlar yayılıb. Bu qurğu ehtimal ki gələn il “Mustang” və “Focus” modellərində quraşdırılacaq.
Qeyd edək ki, bu tip sürət qutusu yenilik sayılmamalıdır. SSRİ-nin istehsalı olan “K-701” markalı traktorlarda bu ötürmənin primitiv versiyası tətbiq edilib. Sözügedən traktorda yalnız birinci ötürməni qoşmaq üçün mufta pedalından istifadə etmək lazım gəlir.
Vüqar

















