“Porsche” üçün 12 silindrli mühərrik patentləşdirildi - FOTO
Avtodünya
4 Noyabr 2025 17:18
Oxunub 536

Avropa 2035-ci ildə tam elektyrik mühərrikinə keçməyə hazırlaşdığı vaxtda “Porsche”nin bu addımı bir qədər təəccüblə qarşılanıb.
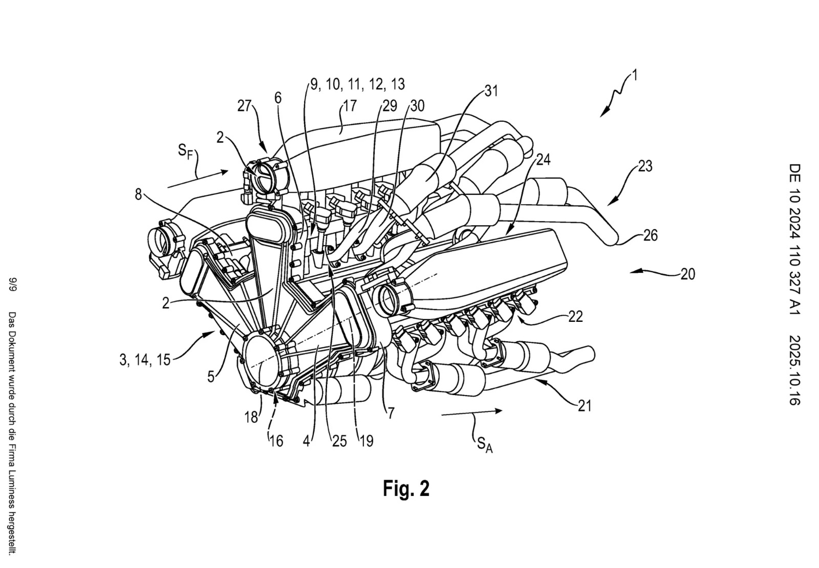
Avtosfer.az xəbər verir ki, şirkət 12 silindrli (W12) mühərrikdə silindrlər 3 cərgə yerləşir. Patent üçün təqdim edilən eskizdə aqreqatın hava ilə soyudulduğu göstərilir. Mühərrik 3 turbokompressorun və yeni qazpaylama mexanizminin sayəsində digər 12 silindrli mühərrikdən daha çox güc hasil edəcək.
Bu da bir daha göstərir ki, daxiliyanma mühərrikləri hələ son sözünü deməyib.
Vüqar
ŞƏRH YAZ
DİGƏR XƏBƏRLƏR
















